Vistas:0 Autor:Editor del sitio Hora de publicación: 2019-05-13 Origen:Sitio
Aquí hablamos principalmente de la operación segura de CNC.máquina de pelado de chapa sin husillo.
La máquina de pelado de chapa sin husillo digital CNC es un dispositivo que hace girar los troncos enderezados o los núcleos de madera restantes de la máquina de pelado de chapa de husillo.
Este equipo generalmente se fija mediante rodillos dobles, y la cuchilla de pelado se mueve linealmente a lo largo de pistas paralelas. Este tipo de máquina peladora de chapa sin chapa adopta un sistema de control numérico avanzado, que puede calcular la relación de transmisión de cada parte según el diámetro actual del tronco, la velocidad de rotación del rodillo de fricción y el espesor requerido de la chapa para producir una alta chapa de calidad.
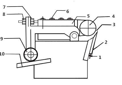
一 、 Partes principales de la máquina de pelado de chapa :
1 control caja de control de computadora: complete la función de control completa del dispositivo
2 、 la consola: la transmisión de señales a la caja de control para lograr la función del equipo operativo
Rodillo guía automático de 3:: el núcleo de madera que se ha cortado se retira de la junta del cuchillo
Soporte de unión de cuchilla de ajuste automático de 4:: se utiliza para fijar el conjunto de accionamiento de un solo rodillo y para completar la función de ajuste del espacio de la cuchilla
5 adjustment Ajuste automático de la guía de costura: se utiliza para ajustar la carrera de la mesa de un solo rodillo antes y después del movimiento, para completar el cambio del diámetro del tronco desde el cambio grande al ajuste automático de la ranura durante el giro corte
Motor de la cortadora rotativa 6 、: se utiliza para accionar la herramienta de perforación para realizar la función de cortar la tabla
7 reduc Reductor de la cortadora rotativa: sección de reducción de potencia de la cortadora rotativa
Motor de transportador de 8 、: se utiliza para accionar la correa para girar para realizar la función de chapa de transferencia
Reductor del transportador de 9: sección de desaceleración del motor de la correa de transmisión
Motor de doble rodillo de 10: se utiliza para impulsar el rodillo de doble fricción para realizar la rotación del rodillo de doble fricción para impulsar la madera de corte giratorio para realizar el movimiento giratorio
Reductor de doble rodillo de 11: parte de desaceleración de la potencia del motor de doble rodillo de transmisión
12 、 rodillo simple-doble: contacto con los troncos y el portador que hace girar los troncos
Motor de alimentación de 13 、: se utiliza para impulsar la rotación del tornillo para impulsar el cortador giratorio para moverse hacia adelante y hacia atrás
Reductor de alimentación de 14 、: parte de desaceleración de la potencia del motor de alimentación del variador
Tornillo de alimentación de 15 、: la potencia de avance del accionamiento es la parte clave para realizar la rotación del cortador giratorio. El doble paso mejora la precisión del movimiento del cortador rotativo y asegura el grosor uniforme de la chapa.
Motor de un solo rodillo de 16: se utiliza para impulsar un solo rodillo de fricción para realizar la rotación del rodillo de una sola fricción para impulsar los troncos de corte rotativos para el movimiento giratorio
Reductor de un solo rodillo: la parte de desaceleración de la potencia del motor de un solo rodillo
二 、 Operación segura delínea de producción de chapa:
La mayoría de los accidentes que ocurren en el equipo son causados por el operador que no opera en estricta conformidad con los procedimientos operativos.
El principio que debe cumplir el operador es que el equipo no debe limpiarse, lubricarse o mantenerse durante el funcionamiento. La alimentación eléctrica debe cortarse durante el mantenimiento. Debe comprobarse la puesta a tierra de la alimentación del equipo.
Deben observarse los siguientes principios antes de operar la máquina:
1 、 El mantenimiento del equipo debe ser realizado por personal capacitado, saludable y adaptable que pueda hacer el trabajo de manera confiable.
2 、 Las personas que beben alcohol, drogas o similares no pueden operar, mantener y reparar el dispositivo。
3 、 Antes de encender el equipo, el operador debe verificar que todas las instalaciones de seguridad sean normales y verificar que el equipo no tenga defectos obvios.
4. Si el equipo tiene algún defecto, especialmente los relacionados con los procedimientos de operación de seguridad, el operador debe informar inmediatamente al líder o notificar a la persona a cargo del mantenimiento.
5. Si el problema del equipo se encuentra en una operación en crisis, debe dejar de funcionar inmediatamente, cortar el suministro de energía y hacer una señal de advertencia en el equipo.
6. Cuando se está reparando el equipo u otro trabajo, se debe informar a todo el personal involucrado que si el equipo debe recibir alimentación, una persona especial debe cuidar el interruptor de alimentación.
7. Este equipo solo se puede utilizar para cortar madera de forma rotativa diseñado por el fabricante.
8. La mejora técnica del equipo afectará la operación y la seguridad del equipo. Debe ser realizado por el fabricante o personal autorizado del fabricante. De lo contrario, el fabricante no es responsable de las pérdidas causadas por la modificación.
9. Si no se puede garantizar que el equipo de seguridad funcione normalmente durante la instalación, reparación o reparación, debe ser realizado por un licenciatario profesional que debe garantizar lesiones personales y daños al equipo.
10, no use anillos, relojes, joyas, collares, ropa para colgar boletos sueltos, como corbatas, ropa rasgada, zapatos comunes, blusas desabrochadas o cremalleras desabrochadas puede ser raspado por las partes móviles del dispositivo en vivo. Se debe usar ropa protectora que esté aprobada para prevenir accidentes.
11. Cuando limpie el equipo, asegúrese de detener la fuente de alimentación, tenga cuidado para evitar cortes y utilice los métodos adecuados para la limpieza.
12. No opere el equipo si el equipo está enfermo, la luz indicadora está encendida y la unidad de control está defectuosa.
13. Antes de encender el equipo, asegúrese de que todos los componentes estén instalados correctamente, que no haya piezas dañadas y que las funciones de cada botón de operación se comprendan claramente. Todos los demás objetos (telas, herramientas, hierros, etc.) que no estén relacionados con la máquina deben retirarse del equipo.
14. El voltaje de la fuente de alimentación es más alto que el rango de voltaje requerido por el equipo. No envíe energía al equipo, de lo contrario se dañarán los componentes eléctricos.
15. Una vez que el sistema de control eléctrico está energizado, es muy peligroso cargar los componentes eléctricos. Los no profesionales no deben tocarlo para evitar el riesgo de descarga eléctrica.
16. Durante el proceso de corte rotativo, primero se debe detener el host y se debe permitir que los registros se enciendan.
17. Durante la operación del equipo, está estrictamente prohibido el uso de herramientas peligrosas como herramientas de mantenimiento y herramientas de limpieza, y no está permitido acercarse al equipo de manera casual.
18. Durante el proceso de rotación, todas las piezas giratorias no deben tocarse con la mano. Los no operadores tienen prohibido acercarse. Está prohibido retirar o abrir la tapa.
19. Cuando el equipo está lubricado, está prohibido tocar el equipo directamente con la mano.
20. Gire la madera hasta el final y use el pequeño eje de madera u otros objetos para quitar el resto del eje de madera. No es recomendable tocar el eje de madera con la mano.
21, la operación del equipo debe ser responsable de la persona, el resto del personal no puede ser práctico, para evitar el riesgo de errores operativos. El operador debe trabajar en un terreno estable y bien equilibrado y debe garantizar una buena iluminación en el lugar de trabajo del equipo.
22. No permita que el equipo funcione sin ser atendido.
23. Cuando el equipo está funcionando, preste atención a si hay un sonido anormal. Si se produce una anomalía, detenga la máquina inmediatamente, corte la fuente de alimentación, averigüe la causa del fallo y elimine la prueba de potencia.
24. Si la operación no es normal, notifique a la persona a cargo del mantenimiento. Todas las reparaciones y el mantenimiento deben llevarse a cabo de acuerdo con las prácticas de prevención de accidentes que se encuentran en las normas de seguridad de este manual.
三 、 Ajuste la altura del cortador rotativo
1.Tornillo de ajuste de la altura de la cuchilla 2, cuchilla de corte giratoria 3, hendidura de la cuchilla 4, rodillo de fricción simple 5, conjunto de mesa de rodillo único 6, perno de fijación de la mesa de rodillo de fricción simple 7, conjunto de mesa de rodillo de fricción simple tuerca de ajuste delantera 8, fricción única Tuerca de ajuste después del rodillo conjunto de la mesa 9, soporte de costura automático, cojinete deslizante 10, guía de costura de ajuste automático
Paso 1. Confirme que la altura de la cuchilla esté en la posición estándar (la altura normal de la cuchilla estándar es de 103 mm)
Paso 2. Afloje los pernos de fijación (numerados con 6 en la figura) que están fijos a la fila individual en ambos lados del rodillo individual.
Paso 3. Cuando la cama de corte se abre al monitor de la computadora y el diámetro de la madera es de 60 mm, mida el tamaño de la ranura y corte el grosor de la madera. (Si el grosor de la chapa debe ser de 1.9 mm, el ancho de la ranura debe ajustarse a 2.1 mm)
Paso 4. Ajuste la barra de dibujo trasera para ajustar la costura de corte a la posición requerida. Luego apriete las dos tuercas (numeradas 7, 8 en la figura) en la parte delantera y trasera de la varilla de dibujo, y bloquee los cuatro pernos a cada lado de la fila individual.
El cliente no debe ajustar los pernos de fijación y los pernos de ajuste de la guía de costura de ajuste automático (10 en la figura). La desviación de los rieles delanteros y traseros del estándar de fábrica es aproximadamente 8 mm más alto que el lado trasero. Esta altura puede basarse en el grosor de la madera de corte rotativa real. Ajuste, generalmente no es necesario ajustar. Si el lecho de cuchillas se abre hacia el frente y el extremo después del ajuste, los rodamientos de ambos lados deben estar en contacto cercano con el riel auxiliar.
四 .las instrucciones de operación del controlador
1, ajuste de espesor:
En la pantalla de espera de la pantalla, presione directamente el botón de datos más / datos menos para establecer el grosor del corte giratorio. Después de la configuración, el sistema confirma automáticamente.
2, la configuración de ancho:
En el estado de espera, presione el botón de ancho para ingresar directamente el programa de configuración de Ancho. En este estado, presione el botón de datos más / datos menos para ajustar el ancho del escorpión. Después de la configuración, el sistema confirma automáticamente. Después de 10 segundos, volverá automáticamente a la pantalla de espera.
3, el ajuste del ancho del cuchillo de la cola:
En el estado de espera, presione el botón de ancho de la cuchilla de cola para ingresar directamente al programa de configuración de ancho del portón trasero. En este estado, presione el botón de datos más / datos menos para ajustar el ancho de la cuchilla de cola. El ancho de la cuchilla de cola puede ser positivo o es un número negativo. Después de la configuración, el sistema confirmará automáticamente y volverá automáticamente a la pantalla de espera después de 10 segundos.
4, autoprueba del sistema:
En el estado de espera, presione el segundo botón (rojo) para mostrar la pantalla de autoprueba. En este momento, se inicia la máquina, el sistema realiza el estado de autoprueba y la pantalla de autoprueba se cierra automáticamente una vez que se completa la autoprueba.
Quinto, mantenimiento de equipos.
Precauciones de mantenimiento
1. Corte la fuente de alimentación cuando realice todo el mantenimiento, la lubricación y la limpieza en la máquina de corte rotativa de acuerdo con las instrucciones del equipo.
2. No lleve partes vivas. Debe ser aprobado por la persona autorizada a cargo para modificar las reglas generales de seguridad y siempre realizar operaciones peligrosas específicas en presencia de varias personas.
3. Antes del trabajo, asegúrese de verificar si se han tomado medidas de seguridad.
4. Debe informar a otros operadores que debe realizar reparaciones y otras intenciones de trabajo.
5. Antes de encender el equipo, asegúrese de que todas las llaves, herramientas y herramientas de limpieza hayan sido retiradas del equipo.
6. Cuando el equipo se repare o tenga una falla, asegúrese de colocar una señal de advertencia, especialmente la potencia del equipo.
Inspección periódica
1. Para mantener estable y seguro el rendimiento del equipo, verifique la siguiente frecuencia: Antes de probar el nuevo equipo, las partes móviles, como el riel de guía, el tornillo de alimentación, la caja de cambios y el engranaje de transmisión deben llenarse con aceite lubricante .
2. El tornillo de alimentación, el riel guía, el engranaje de transmisión, la cadena de transmisión, etc. deben llenarse con aceite lubricante cada hora durante 200 horas en la nueva máquina. Los tornillos de alimentación en ambos lados de los bujes de los cojinetes de rodillos individuales y dobles deben llenarse con mantequilla una vez dentro de los 15 días de la nueva máquina, y la mantequilla debe llenarse una vez cada 15 días para garantizar la durabilidad del equipo.
3. Después de que la máquina funciona durante 200 horas, cada parte de lubricación se lubrica una vez cada 2 horas.
4. Comprobar el control eléctrico por cada 200 horas de trabajo.
5. ¿La correa del motor de rodillo simple y doble está suelta o desgastada?
Si tiene algún problema al utilizar elpeladora de chapa, puedes contactar con nuestra empresa a tiempo.
